Não é novidade que a Motorola está preparando um retorno triunfal para a emblemática linha Razr, que fez sucesso com o V3 durante os anos 2000. A companhia deve aproveitar a marca reconhecida para entrar também na onda dos celulares dobráveis, competindo com o Galaxy Fold e o Huawei Mate X.

Mas diferentemente desses dispositivos, a Motorola vai apostar em componentes intermediários. É o que afirma o site XDA Developers, que diz ter conversado com uma fonte próxima ao assunto. Ela revela que o celular virá equipado com um processador Snapdragon 710 e GPU Adreno 615, além de opções com 4 GB ou 6 GB de RAM e 64 GB ou 128 GB de armazenamento.

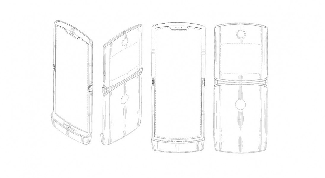
Como mostram imagens de um documento da Motorola submetido à Organização Mundial de Propriedade Intelectual, o Razr V4 deve ter uma tela principal dobrável acompanhada por um visor secundário na parte de fora, seguindo o visual do V3. A tela principal teria 6,2 polegadas e resolução de 876x2142, enquanto a menor viria na resolução 600x800.

Motorola Razr V4Documento da Motorola mostra possível visual do Razr V4. Foto: WIPO/Reprodução

Essas novas informações podem explicar o preço de US$ 1,5 mil revelado pelo The Wall Street Journal. Embora seja um valor alto quando consideramos a maioria dos lançamentos atuais, ele é menor que os US$ 1.980 do Galaxy Fold e pode acabar se estabelecendo como uma opção menos cara de dobrável. Ainda não há uma previsão para o anúncio oficial desse aparelho.